Resource Allocation in Reconfigurable Intelligent Surfaces Assisted NOMA Based Space-Air-Ground Integrated Network
-
摘要: 由于地面用户与基站之间有障碍物遮挡,致使直连链路被阻断,该文考虑基于双联路通道的空天地一体化网络(SAGIN),利用空中智能超表面(ARIS)辅助地面用户与基站间的通信,以及高空平台(HAP)辅助低轨卫星(LEO)与地面基站间的通信。具体而言,在第1段上行链路传输中,地面用户将利用ARIS作为无源中继传输信息至基站。在第2段上行链路传输中,LEO作为通信用户先将信号发射至HAP,再由HAP放大信号转发至地面基站,其中HAP和地面基站通信链路可能存在云层阻挡仍需依靠ARIS辅助通信。综上所述,由于地面用户数量远远大于ARIS数量,该文以最大化系统能效为目标,利用1对多双边匹配论算法对地面用户们进行分组,且组内用户采用非正交多址接入(NOMA)方式进行传输,组间用户则采用频分多址接入(FDMA)方式。进一步,在考虑地面用户分组、地面用户功率分配、LEO波束赋形、ARIS群波束赋形等约束条件后,该文所提ARIS赋能交替迭代网络效能优化算法(APIA-SAGIN)设计方案,并通过仿真验证了所提算法的可行性。Abstract:
Objective The exponential growth of 6G wireless communication demands has positioned the Space-Air-Ground Integrated Network (SAGIN) as a promising architecture, aiming to achieve broad coverage and adaptive networking. However, complex geographic environments, including building obstructions, frequently hinder direct communication between ground users and base stations, thereby requiring effective relay strategies to maintain reliability. Reconfigurable Intelligent Surfaces (RIS) have attracted considerable attention for their capacity to improve signal coverage through passive beamforming. This study develops an RIS-assisted SAGIN architecture incorporating aerial RIS clusters and High-Altitude Platforms (HAPS) to enable communication between ground users and a Low Earth Orbit (LEO) satellite. To enhance energy efficiency, the system further optimizes user relay selection, power allocation, and beamforming for both LEO and RIS components. Methods The proposed system integrates LEO satellites, HAPS, Unmanned Aerial Vehicles (UAVs) equipped with RIS, and ground users within a three-dimensional communication space. Due to environmental obstructions, ground users are unable to maintain direct links with base stations; instead, RIS functions as a passive relay node. To improve relay efficiency, users are grouped and associated with specific RIS units. The total system bandwidth is partitioned into sub-channels assigned to different user groups. A matching algorithm is designed for user selection, followed by user group association with each RIS. For LEO communications, HAPS serve as active relay nodes that decode and forward signals to ground base stations. The system considers both direct and RIS-assisted communication links. An optimization problem is formulated to maximize energy efficiency under constraints related to user Quality of Service (QoS), power allocation, and beamforming for both LEO and RIS. To solve this, the proposed Alternating Pragmatic Iterative Algorithm in SAGIN (APIA-SAGIN) decomposes the problem into three sub-tasks: user relay selection, LEO beamforming, and RIS beamforming. The Successive Convex Approximation (SCA) and SemiDefinite Relaxation (SDR) methods are employed to transform the original non-convex problem into tractable convex forms for efficient solution.g. Results and Discussions Simulation results confirm the effectiveness of the proposed APIA-SAGIN algorithm in optimizing the energy efficiency of the RIS-assisted SAGIN. As shown in ( Fig. 5 ), increasing the number of RIS elements and LEO antennas markedly improves energy efficiency compared with the random phase shift algorithm. This demonstrates that the proposed algorithm enables channel-aware control by aligning RIS beamforming with the ground transmission channel and jointly optimizing LEO beamforming, RIS beamforming, and LEO-channel alignment. As illustrated in (Fig. 6 ), both energy efficiency and the achievable rate of the LEO link increase with transmission power. However, beyond a certain power threshold, energy consumption rises faster than the achievable rate, leading to diminishing or even negative returns in energy efficiency. (Fig. 7 ) shows that higher power in ground user groups leads to increased achievable rates. Nonetheless, expanding the number of RIS elements proves more effective than increasing transmission power for enhancing user throughput. As shown in (Fig. 8 ), a higher number of RIS elements leads to simultaneous improvements in energy efficiency and achievable rate in the ground segment. Moreover, increasing the number of ground users does not degrade energy efficiency; instead, it results in a gradual increase, suggesting efficient resource allocation. Compared with the random phase shift algorithm, the proposed approach achieves superior performance in both energy efficiency and achievable rate. These findings support its potential for practical deployment in SAGIN systems.Conclusions This study proposes an RIS-assisted SAGIN architecture that utilizes aerial RIS clusters and HAPS to support communication between ground users and LEO satellites. The APIA-SAGIN algorithm is developed to jointly optimize user relay selection, LEO beamforming, and RIS beamforming with the objective of maximizing system energy efficiency. Simulation results demonstrate the effectiveness and robustness of the algorithm under complex conditions. The proposed approach offers a promising direction for improving the energy efficiency and overall performance of SAGIN, providing a foundation for future research and practical implementation. -
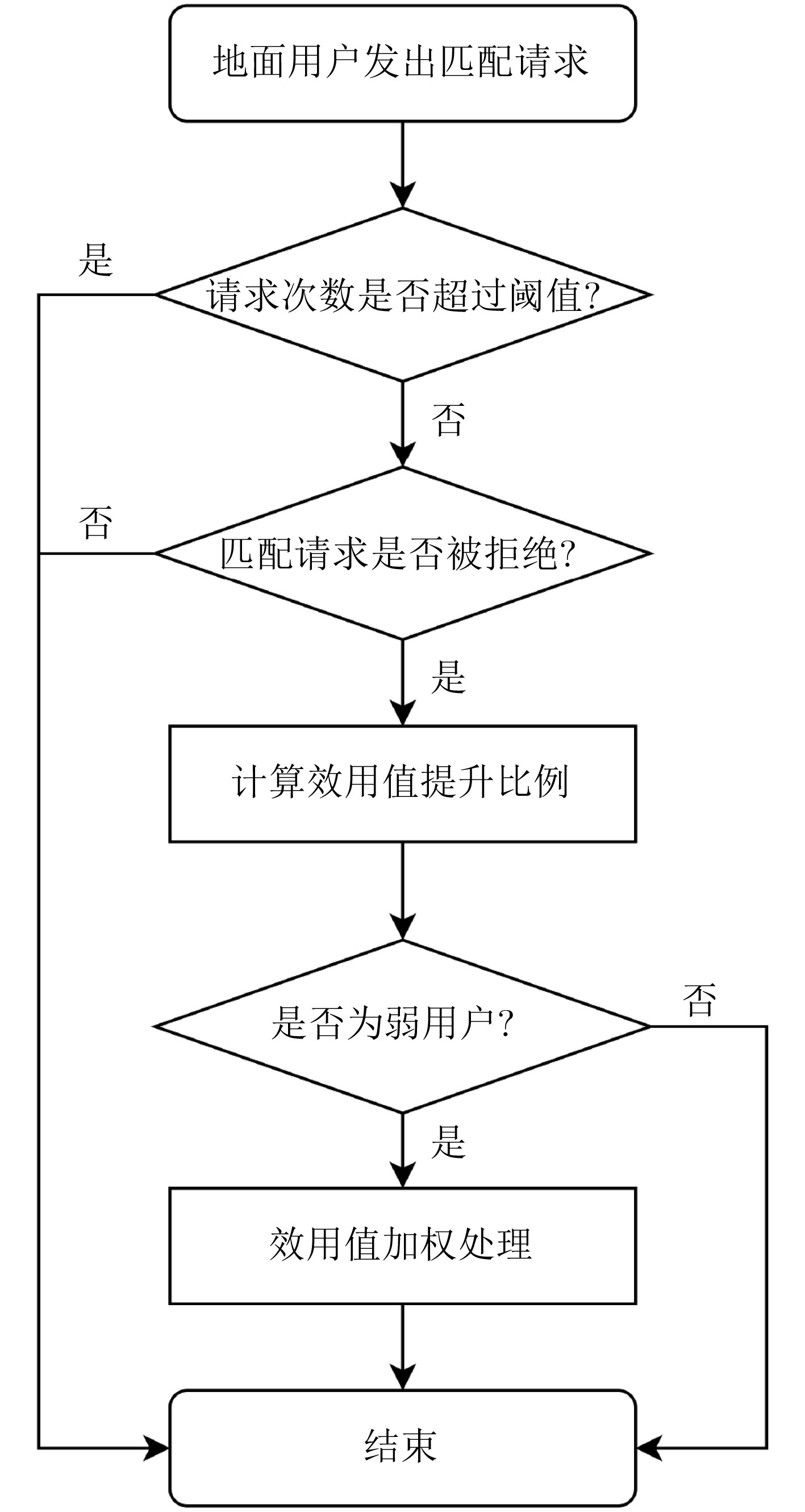
1 基于弱用户补偿的中继选择算法
(1) 初始化: (2) 地面用户集合$ K $,ARIS集合$ I $,偏好关系序列$ {{{\bf{Pre}}} _K} $和
$ {{{\bf{Pre}}} _I} $;(3) 触发阈值$ {\varepsilon _{{\text{th}}}} $、加权比例$ {\theta _{{\text{th}}}} $和加权回合$ {N_{\lim }} $。 (4) 匹配流程 (5) Repeat: (6) 每一个未匹配的用户按照偏好关系序列向排名最高的
ARIS发出匹配请求;(7) If 收到匹配请求的ARIS未与地面用户建立匹配关系,
then ARIS接受地面用户匹配请求; (8) Else (9) Repeat: (10) If 对于ARIS而言,当前匹配请求的用户在偏好关系序列
中更靠前,then ARIS接受当前用户匹配请求,拒绝原匹
配用户;(11) Else计算效用值提升比例,then (12) If当前用户是弱用户,then效用值加权
$ x_{{\text{cur}}}^k = x_{{\text{cur}}}^k\left( {1 + {\theta _{{\text{th}}}}} \right) $, $ {N_{\lim }} = {N_{\lim }} - 1 $,再次向被拒
绝的ARIS发出匹配请求;(13) Until 当前用户不是弱用户、当前用户与ARIS建立匹
配关系或者$ {N_{\lim }} \le 0 $;(14) 更新参与者集合和偏好关系序列; (15) Until 地面用户集合$ K $,ARIS集合$ I $或偏好关系序列为空。 2 利用APIA-SAGIN求解LEO和ARIS波束赋形
(1) 完成地面用户中继选择分组,得到I个地面用户分组; (2) 初始化: (3) 输入ARIS群无源波束赋形$ {{\boldsymbol{\varTheta}}}^{(0)} $,设置外循环迭代次数$ i = 1 $; (4) 设置松弛变量初始值$ \left\{ {{\boldsymbol{w}}_{\text{L}}^{\left( 0 \right)},{t^{\left( 0 \right)}},{\nu ^{(0)}},\phi _{\mathrm{L}}^{\left( 0 \right)},{\delta ^{\left( 0 \right)}},{\theta ^{(0)}}} \right\} $,设置CBS内循环迭代次数$ j = 1 $; (5) 设置松弛变量值$ \left\{ {{V^{(0)}},{X^{(0)}},{Y^{(0)}},{Z^{(0)}}} \right\} $,设置ARIS内循环迭代次数$ l = 1 $。 (6) Repeat: (7) LEO有源波束赋形优化: (8) Repeat: (9) 基于给定的$ {\boldsymbol{\varTheta }} $,利用CVX求解优化问题(P3),得到$ \left\{ {{\boldsymbol{w}}_{{\text{L}},j}^*,t_j^*,\nu _j^*,\phi _{{\text{L}},j}^*,\delta _j^*,\theta _j^*} \right\} $; (10) If差值$ \left| {t_j^* - {t^{\left( {j - 1} \right)}}} \right| \gt {{\mathrm{var}}} $,then$ \left\{ {{\boldsymbol{w}}_{\mathrm{L}}^{\left( j \right)},{t^{\left( j \right)}},{\nu ^{(j)}},\phi _{\mathrm{L}}^{\left( j \right)},{\delta ^{\left( j \right)}},{\theta ^{(j)}}} \right\} = \left\{ {{\boldsymbol{w}}_{{\mathrm{L}},j}^*,t_j^*,\nu _j^*,\phi _{L,j}^*,\delta _j^*,\theta _j^*} \right\} $,且 $ j{\text{ }} = {\text{ }}j{\text{ }} + {\text{ }}1 $; (11) Until $ \left| {t_j^* - {t^{\left( {j - 1} \right)}}} \right| \le {{\mathrm{var}}} $,输出$ t_j^* $和$ {\boldsymbol{w}}_{{\text{L}},j}^* $。 (12) I个ARIS无源波束赋形优化: (13) Repeat: (14) 基于给定的$ {\boldsymbol{w}}_{{\text{L}},j}^* $,利用CVX求解优化问题(P6),得到$ \left\{ {{{\boldsymbol{U}}^*},V_l^*,X_l^*,Y_l^*,Z_l^*} \right\} $; (15) If差值$ \left| {{Z^{\left( l \right)}} - {Z^{\left( {l - 1} \right)}}} \right| \gt {{\mathrm{var}}} $,then$ \left\{ {{V^{(l)}},{X^{\left( l \right)}},{Y^{\left( l \right)}},{Z^{\left( l \right)}}} \right\} = \left\{ {V_l^*,X_l^*,Y_l^*,Z_l^*} \right\} $,且$ l{\text{ }} = {\text{ }}l{\text{ }} + {\text{ }}1 $; (16) Until $ \left| {{Z^{\left( l \right)}} - {Z^{\left( {l - 1} \right)}}} \right| \le {{\mathrm{var}}} $,输出$ {{\boldsymbol{U}}^*} $。 (17) 利用SVD或者高斯随机化方法从$ {{\boldsymbol{U}}^*} $中获得$ {{\boldsymbol{\varTheta}}}^{*} $。 (18) 利用$ {{\boldsymbol{\varTheta}}}^{*} $和$ {\boldsymbol{w}}_{{\text{L}},j}^* $计算$ {{\mathrm{EE}}^{\left( i \right)}} $。 (19) Until $ \left| {{{\mathrm{EE}}^{(i)}} - {{\mathrm{EE}}^{(i - 1)}}} \right| \le \delta $,输出$ {{\mathrm{EE}}^*} = {{\mathrm{EE}}^{(i)}} $。 表 1 ARIS辅助空天地一体化网络仿真参数设置
参数 取值 LEO飞行高度 300 km HAP飞行高度 20 km UAV飞行高度 100~500 m UAV水平分布范围半径 800 m 地面用户水平分布范围半径 600 m LEO信道衰减特性 $ \left\{ {m,b,\varOmega } \right\} = \left\{ {10,0.126,0.835} \right\} $ LEO 3 dB角度 $ {0.5^ \circ } $ HAP发射功率 10 W 地面用户总带宽 120 kHz LEO带宽 500 kHz 地面用户路径损耗指数 0.8 地面用户组内功率之和 1 W UAV通信功率$ {P_{\text{C}}} $ 5 W 噪声谱密度 –90 dB/Hz 加权回合上限$ {N_{\lim }} $ 5 收敛阈值 0.001 -
[1] PAN Cunhua, REN Hong, WANG Kezhi, et al. Reconfigurable intelligent surfaces for 6G systems: Principles, applications, and research directions[J]. IEEE Communications Magazine, 2021, 59(6): 14–20. doi: 10.1109/MCOM.001.2001076. [2] IMT-2023(6G)推进组. 智能超表面典型应用、挑战与关键技术[R]. IMT-2023(6G)推进组, 2023.IMT-2023 (6G) Promotion Group. Typical applications, challenges, and key technologies of intelligent reflecting surfaces[R]. IMT-2023 (6G) Promotion Group, 2023. [3] ZAINUD-DEEN S H. Reconfigurable intelligent surfaces for wireless communications[C]. 2022 39th National Radio Science Conference (NRSC), Cairo, Egypt, 2022: 342–342. [4] YOU Li, XIONG Jiayuan, NG D W K, et al. Energy efficiency and spectral efficiency tradeoff in RIS-aided multiuser MIMO uplink transmission[J]. IEEE Transactions on Signal Processing, 2021, 69: 1407–1421. doi: 10.1109/TSP.2020.3047474. [5] YANG Zhaohui, CHEN Mingzhe, SAAD W, et al. Energy-efficient wireless communications with distributed reconfigurable intelligent surfaces[J]. IEEE Transactions on Wireless Communications, 2022, 21(1): 665–679. doi: 10.1109/TWC.2021.3098632. [6] XU Yongjun, XIE Hao, WU Qingqing, et al. Robust max-min energy efficiency for RIS-aided HetNets with distortion noises[J]. IEEE Transactions on Communications, 2022, 70(2): 1457–1471. doi: 10.1109/TCOMM.2022.3141798. [7] NIU Hehao, LIN Zhi, AN Kang, et al. Active RIS assisted rate-splitting multiple access network: Spectral and energy efficiency tradeoff[J]. IEEE Journal on Selected Areas in Communications, 2023, 41(5): 1452–1467. doi: 10.1109/JSAC.2023.3240718. [8] BUDHIRAJA I, VISHNOI V, KUMAR N, et al. Energy-efficient optimization scheme for RIS-assisted communication underlaying UAV with NOMA[C]. 2022 IEEE International Conference on Communications, Seoul, Korea, Republic of, 2022: 1–6. doi: 10.1109/ICC45855.2022.9838872. [9] SUN Yifu, AN Kang, ZHU Yonggang, et al. Energy-efficient hybrid beamforming for multilayer RIS-assisted secure integrated terrestrial-aerial networks[J]. IEEE Transactions on Communications, 2022, 70(6): 4189–4210. doi: 10.1109/TCOMM.2022.3170632. [10] ZHAI Zhiyuan, DAI Xinhong, DUO Bin, et al. Energy-efficient UAV-mounted RIS assisted mobile edge computing[J]. IEEE Wireless Communications Letters, 2022, 11(12): 2507–2511. doi: 10.1109/LWC.2022.3206587. [11] DO T N, KADDOUM G, NGUYEN T L, et al. Aerial reconfigurable intelligent surface-aided wireless communication systems[C]. 2021 IEEE 32nd Annual International Symposium on Personal, Indoor and Mobile Radio Communications (PIMRC), Helsinki, Finland, 2021: 525–530. doi: 10.1109/PIMRC50174.2021.9569450. [12] KURT G K, KHOSHKHOLGH M G, ALFATTANI S, et al. A vision and framework for the High Altitude Platform Station (HAPS) networks of the future[J]. IEEE Communications Surveys & Tutorials, 2021, 23(2): 729–779. doi: 10.1109/COMST.2021.3066905. [13] JEON H B, PARK S H, PARK J, et al. An energy-efficient aerial backhaul system with reconfigurable intelligent surface[J]. IEEE Transactions on Wireless Communications, 2022, 21(8): 6478–6494. doi: 10.1109/TWC.2022.3149903. [14] WANG Yong, LIN Zhi, NIU Hehao, et al. Secure satellite transmission with active reconfigurable intelligent surface[J]. IEEE Communications Letters, 2022, 26(12): 3029–3033. doi: 10.1109/LCOMM.2022.3207190. [15] KHAN W U, LAGUNAS E, MAHMOOD A, et al. Energy-efficient RIS-enabled NOMA communication for 6G LEO satellite networks[C]. 2023 IEEE 97th Vehicular Technology Conference, Florence, Italy, 2023: 1–6. doi: 10.1109/VTC2023-Spring57618.2023.10200793. [16] GUAN Da, SUN Xin, WANG Jun, et al. RIS-NOMA-aided LEO satellite communication networks[C]. 2022 10th International Conference on Information Systems and Computing Technology, Guilin, China, 2022: 409–413. doi: 10.1109/ISCTech58360.2022.00071. [17] WU Min, GUO Kefeng, LIN Zhi, et al. Joint optimization design of RIS-assisted hybrid FSO SAGINs using deep reinforcement learning[J]. IEEE Transactions on Vehicular Technology, 2024, 73(3): 3025–3040. doi: 10.1109/TVT.2023.3324970. [18] NGUYEN T V, LE H D, and PHAM A T. On the design of RIS–UAV relay-assisted hybrid FSO/RF satellite–aerial–ground integrated network[J]. IEEE Transactions on Aerospace and Electronic Systems, 2023, 59(2): 757–771. doi: 10.1109/TAES.2022.3189334. [19] DING Zhiguo and POOR H V. A simple design of IRS-NOMA transmission[J]. IEEE Communications Letters, 2020, 24(5): 1119–1123. doi: 10.1109/LCOMM.2020.2974196. [20] NGUYEN K T, VU T H, and KIM S. Performance analysis and deep learning design of short-packet communication in multi-RIS-aided multiantenna wireless systems[J]. IEEE Internet of Things Journal, 2023, 10(19): 17265–17281. doi: 10.1109/JIOT.2023.3272674. [21] AGHASHAHI S, ZEINALPOUR-YAZDI Z, TADAION A, et al. MU-massive MIMO with multiple RISs: SINR maximization and asymptotic analysis[J]. IEEE Wireless Communications Letters, 2023, 12(6): 997–1001. doi: 10.1109/LWC.2023.3256187. [22] LIANG Wei, NG S X, DING Zhiguo, et al. User grouping, spectrum and power allocation for energy efficient MEC aided cognitive radio networks[J]. IEEE Transactions on Cognitive Communications and Networking, 2024, 10(6): 2383–2396. doi: 10.1109/TCCN.2024.3401752. [23] GUO Kefeng, LIN Min, ZHANG Bangning, et al. On the performance of LMS communication with hardware impairments and interference[J]. IEEE Transactions on Communications, 2019, 67(2): 1490–1505. doi: 10.1109/TCOMM.2018.2878848. [24] SHUAI Haifeng, GUO Kefeng, AN Kang, et al. Transmit antenna selection in NOMA-based integrated satellite-HAP-terrestrial networks with imperfect CSI and SIC[J]. IEEE Wireless Communications Letters, 2022, 11(8): 1565–1569. doi: 10.1109/LWC.2022.3165710. [25] LI Bin, FEI Zesong, XU Xiaoming, et al. Resource allocations for secure cognitive satellite-terrestrial networks[J]. IEEE Wireless Communications Letters, 2018, 7(1): 78–81. doi: 10.1109/LWC.2017.2755014. [26] DING Changfeng, WANG Junbo, ZHANG Hua, et al. Joint optimization of transmission and computation resources for satellite and high altitude platform assisted edge computing[J]. IEEE Transactions on Wireless Communications, 2022, 21(2): 1362–1377. doi: 10.1109/TWC.2021.3103764. [27] MORELLI M, KUO C C J, and PUN M O. Synchronization techniques for orthogonal frequency division multiple access (OFDMA): A tutorial review[J]. Proceedings of the IEEE, 2007, 95(7): 1394–1427. doi: 10.1109/JPROC.2007.897979. [28] ZENG Ming, LI Xingwang, LI Gen, et al. Sum rate maximization for IRS-assisted uplink NOMA[J]. IEEE Communications Letters, 2021, 25(1): 234–238. doi: 10.1109/LCOMM.2020.3025978. [29] HUANG Qingquan, LIN Min, ZHU Weiping, et al. Uplink massive access in mixed RF/FSO satellite-aerial-terrestrial networks[J]. IEEE Transactions on Communications, 2021, 69(4): 2413–2426. doi: 10.1109/TCOMM.2021.3049364. [30] YANG Gang, DAI Rao, and LIANG Yingchang. Energy-efficient UAV backscatter communication with joint trajectory design and resource optimization[J]. IEEE Transactions on Wireless Communications, 2021, 20(2): 926–941. doi: 10.1109/TWC.2020.3029225. [31] ZENG Yong, XU Jie, and ZHANG Rui. Energy minimization for wireless communication with rotary-wing UAV[J]. IEEE Transactions on Wireless Communications, 2019, 18(4): 2329–2345. doi: 10.1109/TWC.2019.2902559. [32] LIANG Wei, MA Shaobo, YANG Siyuan, et al. Hierarchical matching algorithm for relay selection in MEC-aided ultra-dense UAV networks[J]. Drones, 2023, 7(9): 579. doi: 10.3390/drones7090579. [33] LIANG Wei, WEN Shuhui, LI Lixin, et al. Distributed user pairing and effective computation offloading in aerial edge networks[J]. Chinese Journal of Aeronautics, 2024, 37(4): 378–390. doi: 10.1016/j.cja.2023.10.028. [34] 徐子蒙, 王博文, 云霄, 等. 灾后无人机不确定偏好序下稳定中继选择方法[J]. 西安电子科技大学学报, 2022, 49(6): 32–41,50. doi: 10.19665/j.issn1001-2400.2022.06.005.XU Zimeng, WANG Bowen, YUN Xiao, et al. Stable relay selection method under an uncertain preference ordinal for UAV in post-disaster[J]. Journal of Xidian University, 2022, 49(6): 32–41,50. doi: 10.19665/j.issn1001-2400.2022.06.005. [35] ZHANG Han, ZHANG Dekun, MENG Weixiao, et al. User pairing algorithm with SIC in non-orthogonal multiple access system[C]. 2016 IEEE International Conference on Communications (ICC), Kuala Lumpur, Malaysia, 2016: 1–6. doi: 10.1109/ICC.2016.7511620. [36] ALMRADI A, XIAO Pei, and HAMDI K A. Hop-by-Hop ZF beamforming for MIMO full-duplex relaying with co-channel interference[J]. IEEE Transactions on Communications, 2018, 66(12): 6135–6149. doi: 10.1109/TCOMM.2018.2863723. [37] AL-OBIEDOLLAH H M, CUMANAN K, THIYAGALINGAM J, et al. Energy efficient beamforming design for MISO non-orthogonal multiple access systems[J]. IEEE Transactions on Communications, 2019, 67(6): 4117–4131. doi: 10.1109/TCOMM.2019.2900634. [38] ZHOU Xiaobo, LI Jun, SHU Feng, et al. Secure SWIPT for directional modulation-aided AF relaying networks[J]. IEEE Journal on Selected Areas in Communications, 2019, 37(2): 253–268. doi: 10.1109/JSAC.2018.2872372. [39] MU Xidong, LIU Yuanwei, GUO Li, et al. Exploiting intelligent reflecting surfaces in NOMA networks: Joint beamforming optimization[J]. IEEE Transactions on Wireless Communications, 2020, 19(10): 6884–6898. doi: 10.1109/TWC.2020.3006915. [40] DUAN Ruiyang, WANG Jingjing, JIANG Chunxiao, et al. Resource allocation for multi-UAV aided IoT NOMA uplink transmission systems[J]. IEEE Internet of Things Journal, 2019, 6(4): 7025–7037. doi: 10.1109/JIOT.2019.2913473. [41] CHU Jianhang, CHEN Xiaoming, ZHONG Caijun, et al. Robust design for NOMA-based multibeam LEO satellite internet of things[J]. IEEE Internet of Things Journal, 2021, 8(3): 1959–1970. doi: 10.1109/JIOT.2020.3015995. [42] FANG Fang, WU Bibo, FU Shu, et al. Energy-efficient design of STAR-RIS aided MIMO-NOMA networks[J]. IEEE Transactions on Communications, 2023, 71(1): 498–511. doi: 10.1109/TCOMM.2022.3223706. -
下载:
下载: