高级搜索

留言板

尊敬的读者、作者、审稿人, 关于本刊的投稿、审稿、编辑和出版的任何问题, 您可以本页添加留言。我们将尽快给您答复。谢谢您的支持!

姓名
邮箱
手机号码
标题
留言内容
验证码

基于亚阈值电流阵列的低成本物理不可克隆电路设计

崔益军 张虎 闫成刚 王成华 刘伟强

崔益军, 张虎, 闫成刚, 王成华, 刘伟强. 基于亚阈值电流阵列的低成本物理不可克隆电路设计[J]. 电子与信息学报, 2023, 45(1): 42-48. doi: 10.11999/JEIT211272
引用本文: 崔益军, 张虎, 闫成刚, 王成华, 刘伟强. 基于亚阈值电流阵列的低成本物理不可克隆电路设计[J]. 电子与信息学报, 2023, 45(1): 42-48. doi: 10.11999/JEIT211272
CUI Yijun, ZHANG Hu, YAN Chenggang, WANG Chenghua, LIU Weiqiang. Low-cost PUF Circuit Based on Sub-threshold Current Array[J]. Journal of Electronics & Information Technology, 2023, 45(1): 42-48. doi: 10.11999/JEIT211272
Citation: CUI Yijun, ZHANG Hu, YAN Chenggang, WANG Chenghua, LIU Weiqiang. Low-cost PUF Circuit Based on Sub-threshold Current Array[J]. Journal of Electronics & Information Technology, 2023, 45(1): 42-48. doi: 10.11999/JEIT211272

基于亚阈值电流阵列的低成本物理不可克隆电路设计

doi: 10.11999/JEIT211272 cstr: 32379.14.JEIT211272
基金项目: 国家自然科学基金(62134002, 62104107),江苏省自然科学基金(BK20210287),中央高校基本科研业务费专项资金(NS2021031)
详细信息
    作者简介:

    崔益军:男,讲师,博士,研究方向为密码芯片技术(物理不可克隆函数技术、后量子密码等)

    张虎:男,硕士生,研究方向为新兴硬件安全方案物理不可克隆函数技术

    闫成刚:男,讲师,博士,研究方向为数模混合集成电路设计、近似通信集成电路设计

    王成华:男,教授,博士生导师,研究方向为信息安全芯片、物理不可克隆函数等

    刘伟强:男,教授,博士生导师,研究方向为信息安全芯片、近似计算芯片、AI硬件加速等

    通讯作者:

    刘伟强 liuweiqiang@nuaa.edu.cn

  • 中图分类号: TN402; TP331

Low-cost PUF Circuit Based on Sub-threshold Current Array

Funds: The National Natural Science Foundation of China (62134002, 62104107), The Natural Science Foundation of Jiangsu Province (BK20210287), The Fundamental Research Funds for the Central Universities (NS2021031)
  • 摘要: 物理不可克隆函数(PUF)能够提取出集成电路在加工过程中的工艺误差并将其转化为安全认证的密钥。由于常用于资源及功耗都受限的场合,实用化的PUF电路需要极高的硬件利用效率及较强的抗攻击性能。该文提出一种基于亚阈值电流阵列放电方案的低成本PUF电路设计方案。亚阈值电流阵列的电流具有极高的非线性特点,通过引入栅控开关和交叉耦合的结构,能够显著提升PUF电路的唯一性和稳定性。此外,通过引入亚阈值电流的设计可以极大地提高PUF的安全性,降低传统攻击手段的建模攻击。为了提升芯片的资源利用率,通过详细紧凑的版图设计和优化,该文提出的PUF单元面积仅为377.4 μm2,使得其特别适合物联网等低功耗低成本应用场景。仿真结果表明,该文所提亚阈值电路放电阵列PUF具有良好的唯一性和稳定性,无需校准电路的标准温度电压下唯一性为48.85%;在温度范围–20~80°C,电压变动范围为0.9~1.3V情况下,其可靠性达到了99.47%。
  • 图  1  亚阈值电路

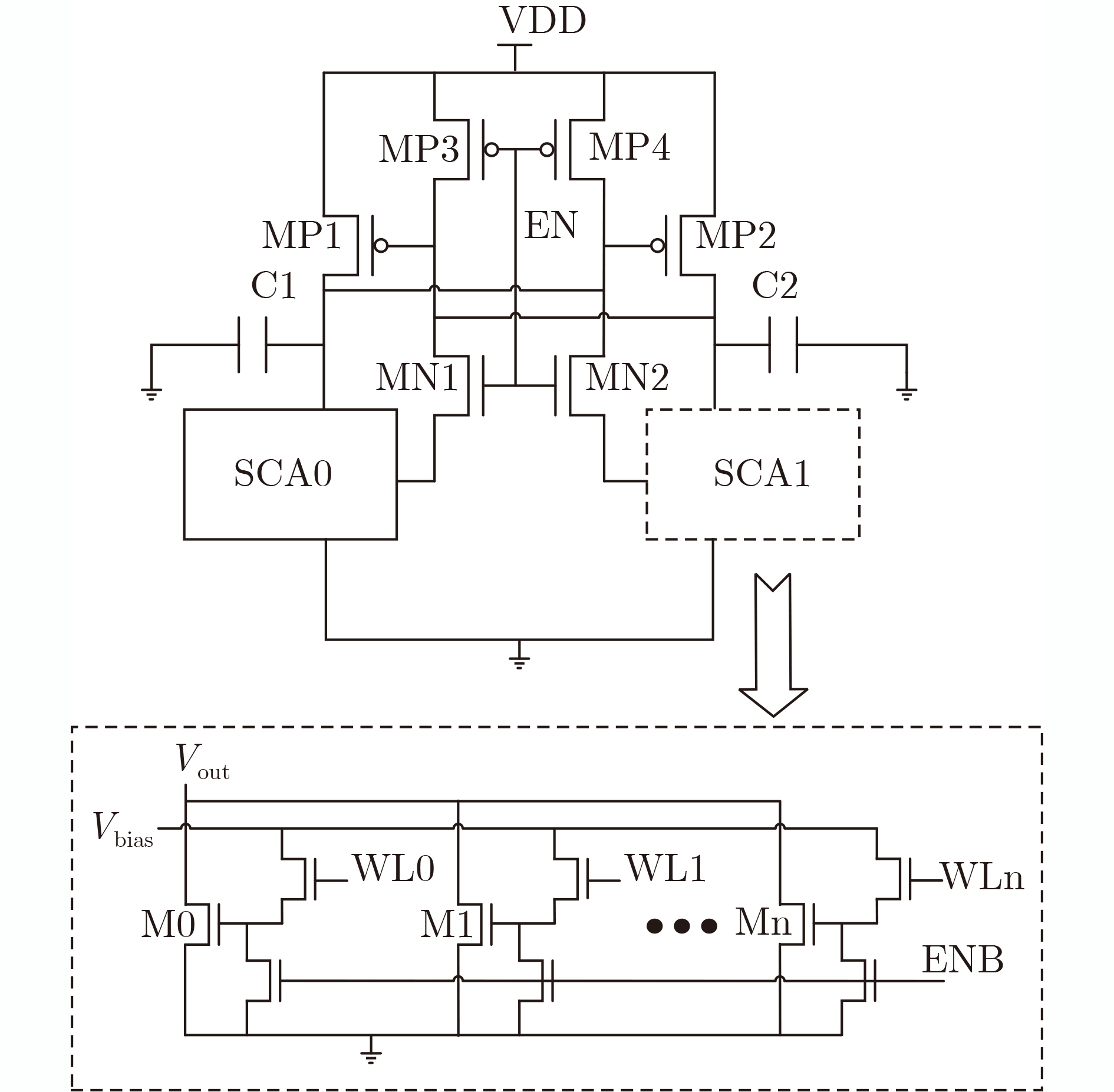
    图  2  亚阈值电流阵列强PUF单元结构

    图  3  PUF单元生成响应的波形

    图  4  基于亚阈值电流阵列的 PUF 电路整体方案

    图  5  PUF 单元版图设计(上)和 CELL 版图设计(下)

    图  6  PUF的片间汉明距离分布

    图  7  CRPs的数量与不稳定位的关系

    图  8  片内汉明距离分布

    表  1  设计中所用参数

    MP1,
    MP2
    MP3,
    MP4
    MN1,
    MN2
    C1,
    C2
    尺寸/
    规格
    12 μm/
    100 nm
    1.2 μm/
    40 nm
    1.2 μm/
    40 nm
    40 pF
    下载: 导出CSV

    表  2  本文PUF电路与其他PUF结构的性能对比

    序号本文PUFTCAS'I[18]TCAS'I[20]TVLSI[21]
    工艺制程(nm) 40 130 40 180
    CRPs数量 1.8×10193.7×10191.8×10193.4×1038
    PUF单元面积(μm2)38244700 4719 5175
    动态功率(μW)370.0683.85
    消耗能量/bit (pJ/bit)0.29117.7
    唯一性 0.4885 0.499 0.4989 0.4995
    输出响应速率(Mb/s)890.0060.5
    本征不稳定位占比(评估CRPs数量)8.9%(8000)9%(500)4.92%(1000)8.1%(10000)
    不稳定位占比(纠错方案后)0.84%(TMV)0.40%(掩蔽42%CRPs) 0.82%(掩蔽18.2%CRPs) 10–9(掩蔽80%CRPs)
    温度范围(°C) –20~80 –20~80 –40~90 –40~125
    电压范围(V)0.9~1.31.08~1.320.9~1.31.5~2.1
    下载: 导出CSV
  • [1] SUH G E and DEVADAS S. Physical unclonable functions for device authentication and secret key generation[C]. The 44th Annual Design Automation Conference, San Diego, USA, 2007: 9–14.
    [2] DELVAUX J, GU D W, SCHELLEKENS D, et al. Helper data algorithms for PUF-based key generation: Overview and analysis[J]. IEEE Transactions on Computer-Aided Design of Integrated Circuits and Systems, 2015, 34(6): 889–902. doi: 10.1109/TCAD.2014.2370531
    [3] 李刚, 汪鹏君, 张跃军, 等. 基于65 nm工艺的多端口可配置PUF电路设计[J]. 电子与信息学报, 2016, 38(6): 1541–1546. doi: 10.11999/JEIT150968

    LI Gang, WANG Pengjun, ZHANG Yuejun, et al. Design of multi-port configurable PUF circuit based on 65 nm technology[J]. Journal of Electronics &Information Technology, 2016, 38(6): 1541–1546. doi: 10.11999/JEIT150968
    [4] 李森森, 黄一才, 郁滨, 等. 基于PUF的低开销物联网安全通信方案[J]. 电子学报, 2019, 47(4): 812–817. doi: 10.3969/j.issn.0372-2112.2019.04.007

    LI Sensen, HUANG Yicai, YU Bin, et al. A PUF-based low cost secure communication scheme for IoT[J]. Acta Electronica Sinica, 2019, 47(4): 812–817. doi: 10.3969/j.issn.0372-2112.2019.04.007
    [5] LIANG Wei, XIE Songyou, ZHANG Dafang, et al. A mutual security authentication method for RFID-PUF circuit based on deep learning[J]. ACM Transactions on Internet Technology, 2022, 22(2): 34. doi: 10.1145/3426968
    [6] 刘伟强, 崔益军, 王成华. 一种低成本物理不可克隆函数结构的设计实现及其RFID应用[J]. 电子学报, 2016, 44(7): 1772–1776. doi: 10.3969/j.issn.0372-2112.2016.07.036

    LIU Weiqiang, CUI Yijun, and WANG Chenghua. Design and implementation of a low-cost physical unclonable function and its application in RFID[J]. Acta Electronica Sinica, 2016, 44(7): 1772–1776. doi: 10.3969/j.issn.0372-2112.2016.07.036
    [7] GU Chongyan, LIU Weiqiang, CUI Yijun, et al. A flip-flop based Arbiter Physical Unclonable Function (APUF) design with high entropy and uniqueness for FPGA implementation[J]. IEEE Transactions on Emerging Topics in Computing, 2021, 9(4): 1853–1866. doi: 10.1109/TETC.2019.2935465
    [8] SAHOO D P, MUKHOPADHYAY D, CHAKRABORTY R S, et al. A multiplexer-based arbiter PUF composition with enhanced reliability and security[J]. IEEE Transactions on Computers, 2018, 67(3): 403–417. doi: 10.1109/TC.2017.2749226
    [9] CUI Yijun, WANG Chenghua, LIU Weiqiang, et al. Low-cost configurable ring oscillator PUF with improved uniqueness[C]. 2016 IEEE International Symposium on Circuits and Systems (ISCAS), Montreal, Canada, 2016: 558–561.
    [10] CAO Yuan, ZHANG Le, CHANG C H, et al. A low-power hybrid RO PUF with improved thermal stability for lightweight applications[J]. IEEE Transactions on Computer-Aided Design of Integrated Circuits and Systems, 2015, 34(7): 1143–1147. doi: 10.1109/TCAD.2015.2424955
    [11] RAHMAN M T, RAHMAN F, FORTE D, et al. An aging-resistant RO-PUF for reliable key generation[J]. IEEE Transactions on Emerging Topics in Computing, 2016, 4(3): 335–348. doi: 10.1109/TETC.2015.2474741
    [12] GU Chongyan, MURPHY J, and O’NEILL M. A unique and robust single slice FPGA identification generator[C]. 2014 IEEE International Symposium on Circuits and Systems (ISCAS), Melbourne, Australia, 2014: 1223–1226.
    [13] SHIFMAN Y, MILLER A, KEREN O, et al. A method to improve reliability in a 65-nm SRAM PUF array[J]. IEEE Solid-State Circuits Letters, 2018, 1(6): 138–141. doi: 10.1109/LSSC.2018.2879216
    [14] 张跃军, 汪鹏君, 李刚, 等. 基于信号传输理论的Glitch物理不可克隆函数电路设计[J]. 电子与信息学报, 2016, 38(9): 2391–2396. doi: 10.11999/JEIT151312

    ZHANG Yuejun, WANG Pengjun, LI Gang, et al. Design of Glitch physical unclonable functions circuit based on signal transmission theory[J]. Journal of Electronics &Information Technology, 2016, 38(9): 2391–2396. doi: 10.11999/JEIT151312
    [15] ZHANG Jiliang and QU Gang. Physical unclonable function-based key sharing via machine learning for IoT security[J]. IEEE Transactions on Industrial Electronics, 2020, 67(8): 7025–7033. doi: 10.1109/TIE.2019.2938462
    [16] 汪鹏君, 连佳娜, 陈博. 基于序列密码的强PUF抗机器学习攻击方法[J]. 电子与信息学报, 2021, 43(9): 2474–2481. doi: 10.11999/JEIT210726

    WANG Pengjun, LIAN Jia’na, and CHEN Bo. Sequence cipher based machine learning-attack resistance method for strong-PUF[J]. Journal of Electronics &Information Technology, 2021, 43(9): 2474–2481. doi: 10.11999/JEIT210726
    [17] XI Xiaodan, ZHUANG Haoyu, SUN Nan, et al. Strong subthreshold current array PUF with 265 challenge-response pairs resilient to machine learning attacks in 130nm CMOS[C]. 2017 Symposium on VLSI Circuits, Kyoto, Japan, 2017: C268–C269.
    [18] ZHUANG Haoyu, XI Xiaodan, SUN Nan, et al. A strong subthreshold current array PUF resilient to machine learning attacks[J]. IEEE Transactions on Circuits and Systems I:Regular Papers, 2020, 67(1): 135–144. doi: 10.1109/TCSI.2019.2945247
    [19] LIU Jiahao, ZHU Yan, CHAN Chihang, et al. A 0.04% BER strong PUF with cell-bias-based CRPs filtering and background offset calibration[J]. IEEE Transactions on Circuits and Systems I:Regular Papers, 2020, 67(11): 3853–3865. doi: 10.1109/TCSI.2020.3008683
    [20] CAO Yuan, LIU Chaoqun, and CHANG C H. A low power diode-clamped inverter-based strong physical unclonable function for robust and lightweight authentication[J]. IEEE Transactions on Circuits and Systems I:Regular Papers, 2018, 65(11): 3864–3873. doi: 10.1109/TCSI.2018.2855061
    [21] HE Zhangqing, WAN Meilin, DENG Jie, et al. A reliable strong PUF based on switched-capacitor circuit[J]. IEEE Transactions on Very Large Scale Integration (VLSI) Systems, 2018, 26(6): 1073–1083. doi: 10.1109/TVLSI.2018.2806041
  • 加载中
图(8) / 表(2)
计量
  • 文章访问数:  1312
  • HTML全文浏览量:  729
  • PDF下载量:  135
  • 被引次数: 0
出版历程
  • 收稿日期:  2021-11-16
  • 修回日期:  2022-03-16
  • 录用日期:  2022-03-25
  • 网络出版日期:  2022-04-06
  • 刊出日期:  2023-01-17

目录

    /

    返回文章
    返回